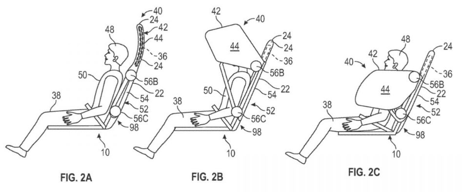
通用汽车已为一种专为可旋转或倾斜的座椅设计的座椅安装式安全气囊约束系统申请了专利(专利号 US 12,139,091 B1 与 USPTO),并于 2024 年 11 月 12 日公布。该通用汽车专利申请将 Ashish Nayak、Chin-Hsu Lin 和 Shan Jain 列为发明人。 To access this post, you must register DVN Interior Gold Membership. Total 0 Shares Share 0 Tweet 0 Philippe Aumont Previous Article 汽车内饰 汽车内饰新闻 马瑞利乘客显示器获得隐私功能奖项 19 12 月, 2024Philippe Aumont Read More Next Article 汽车内饰 汽车内饰新闻 采埃孚、下一代安全气囊和方向盘 19 12 月, 2024Philippe Aumont Read More You May Also Like Read More 汽车内饰 社论 内饰设计、安全和回收 Philippe Aumont19 6 月, 2025 Read More 汽车内饰 深度新闻 被动安全,不断进步! Philippe Aumont19 6 月, 2025 Read More 汽车内饰 汽车内饰新闻 中国座椅供应商:浙江天成自控 Philippe Aumont19 6 月, 2025 Read More 汽车内饰 汽车内饰新闻 Euromoulders 会议:全球 PUR 行业战略展望 Philippe Aumont19 6 月, 2025 Read More 汽车内饰 汽车内饰新闻 丰田合成:汽车零部件的卧式回收技术 Philippe Aumont19 6 月, 2025 Read More 汽车内饰 汽车内饰新闻 路特斯 Eletre和 Emeya :WYRON Truecycled® 可持续纱线 Philippe Aumont19 6 月, 2025 Read More 汽车内饰 汽车内饰新闻 菲亚特 Grande Panda:可持续材料和复古设计 Philippe Aumont19 6 月, 2025 Read More 汽车内饰 汽车内饰新闻 日产Kicks 内饰:更宽敞,更实用 Philippe Aumont19 6 月, 2025