通用汽车最近获得了增强现实(AR)抬头显示器(HUD)新专利,该显示器可以使车辆挡风玻璃的特定区域变暗。
通用汽车专利申请部门向美国专利商标局(USPTO)提出了US 11,557,234 B1专利号的申请,并于2023年1月17获得发布。该专利发明人为多位密歇根州的工程师,包括Madalyn Theresa Eudy, Joseph F. Szczerba, John P. Weiss, Thomas A. Seder, 和 Kai-Han Chang。
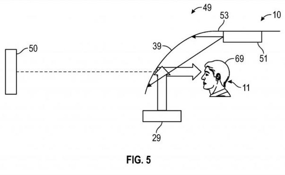
从本质上讲,通用汽车新专利中描述的系统旨在最大限度地减少迎面而来的车辆对驾驶员的眩光。该系统集成了AR HUD和透明挡风玻璃,具有智能玻璃和电动可调透射率功能,以及前置传感器,可以检测和识别迎面而来车辆的前灯和其它明亮光源。
如果系统检测到光线高于某个阈值,系统将通过调暗挡风玻璃的一部分来防止眩光,从而提高安全性。

尽管自适应前照灯日益流行,这项创新仍然具有重要意义。它可以最大限度减少配备高功率照明系统的车辆以及卡车和SUV的影响,这些车辆通常将前照灯安装在比其它车辆更高的位置。
综上所述,该系统无疑比简单的挡风玻璃更复杂、成本更高。因此,还需考虑诸如rock chip甚至整个挡风玻璃的维修成本。另外,还需与简单的遮阳板进行对比!
值得注意的是,这并不是通用汽车最近申请的唯一一个旨在避免光线阻碍驾驶员视线的专利。根据之前的通用汽车管理局报道,他们最近申请了一项系统专利,该系统通过液晶阵列和透明LED按需使车辆挡风玻璃各个部分变暗。